Устройство и особенности конструкции
Автомобильные генераторы выполняют одну и ту же функцию, работают по одинаковому принципу, но отличаются друг от друга размером, схемой реализации деталей узла, размерами шкива, характеристиками выпрямителей и регулятора напряжения, наличием охлаждения (жидкостное или воздушное часто применяются на дизельных двигателях). Генератор состоит из:
- корпуса (передняя и задняя крышка);
- статор;
- ротор;
- диодный мост;
- шкив;
- щеточный узел;
- регулятор напряжения.
Корпус
Абсолютное большинство генераторов имеют корпус состоящий из двух крышек, которые соединяются между собой шпильками и стягиваются гайками. Исполнение детали из легкосплавного алюминия, который отличается хорошим теплоотводом и не намагничивается. На корпусе имеются вентиляционные отверстия, обеспечивающие теплообмен.
Статор
Имеет кольцевидную форму, установлен внутри корпуса . Является одним из главных деталей, который служит для создания переменного тока за счет магнитного поля ротора. Состоит статор из сердечника, который собран из 36 пластин. В пазах сердечника находится медная обмотка, которая служит для образования тока. Чаще всего обмотка трехфазная, по типу соединения:
- звезда — концы обмотки соединены между собой;
- треугольник — концы обмотки выводятся отдельно.
Ротор
Вращающаяся делать, ось которой вращается на шариковых подшипниках закрытого типа. На валу установлена обмотка возбуждения, которая служит для создания магнитного поля для статора. Для обеспечения правильного направления магнитного поля над обмоткой установлена два полюсных сердечника с шестью зубами для каждого. Также вал ротора оснащен двумя медными кольцами, иногда латунными или стальными, через которые поступает ток от аккумулятора на катушку возбуждения.
Диодный мост/ выпрямительный блок
Также один из главных компонентов, задача которого преобразовывать переменный ток в постоянный, обеспечивая стабильный заряд автомобильного аккумулятора. Диодный мост состоит из положительной и отрицательной радиаторной полосы, а также диодов. Диоды герметично впаяны в мост.
Ток подается на диодный мост с обмотки статора, выпрямляется и поступает на АКБ через выводной контакт в задней крышке.
Шкив
Шкив посредством приводного ремня, передает крутящий момент на генератор от коленчатого вала. Размер шкива определяет передаточное число, чем больше его диаметр — тем меньше необходимо энергии на вращение генератора. Современные автомобили переходят на обгонную муфту, смысл которой сглаживать колебания вращения шкива, сохраняя натяжение и целостность ремня.
Щеточный узел
На современных авто, щетки объединены в один узел с регулятором напряжение, им меняются только в сборе, так как их срок службы довольно большой. Щетки служат для передачи напряжения на контактные кольца вала ротора. Графитовые щетки прижимаются пружинками.
Регулятор напряжения
Полупроводниковый регулятор обеспечивает поддержание необходимого напряжения в заданных параметрах. Находится на блоке щеткодержателей или может выводиться отдельно.
«Гном»
Генератор шума «Гном» — одно из устройств, борющихся с побочными электромагнитными излучениями. Выпускалось несколько моделей прибора. Сначала они были громоздкими, а затем уменьшались в размере, оставаясь такими же эффективными. Разработка «Гном 5» является примером компактного и удобного устройства, находящегося под рукой. Принцип действия прибора реализуется в работе с персональным компьютером, защищая его от утечки информации. Размещается устройство в системном блоке.
Наряду со шпионской техникой существуют и специальные устройства для защиты информации. Но никто, кроме нас самих, не будет использовать их. Только в наших руках находится информационная защита. А реализовывать ее или нет — личное решение каждого.
www.newcom.cv.ua — Генератор ВЧ (2-160 Мгц)
Подробности Опубликовано 01.01.2013 11:59 Генератор ВЧ работает в диапазоне частот от 2 Мгц до 160 Мгц. Предназначен для проведения работ по настройки высокочастотной радиоаппаратуры, в том числе приемников, передатчиков, трансиверов, радиомикрофонов, устройств дистанционного радиоуправления и т.д.
Для более точного задания частоты, основной диапазон частот разбит на шесть поддиапазонов — четыре в диапазоне КВ и два в диапазоне УКВ.
Уровень выходного напряжения регулируется ступенчато с помощью антенюатора в пределах 1 mV, 10mV, 100 mV и 1 V.
Схема генератора ВЧ очень простая в повторении и состоит из трех основных модулей :
1. Высокочастотного автогенератора собранный по схеме индуктивной трехточки на индуктивностях и транзисторе VT1 KT345. Параметры индуктивностей L1- L6, для поддиапазонов указаны в таблице.
| Номер катушки | Поддиапазон Мгц | Индуктивность мкГн | Диаметр провода | Число витков | Способ намотки |
| L1 | 2-5 | 106 | 0,2 | 90 | Виток к витку. Рядовая. Диаметр каркаса 8 мм с ферритовым сердечником.
Отвод — от 30 витка. |
| L2 | 5-10 | 17 | 0,3 | 50 | Виток к витку. Рядовая. Диаметр каркаса 8 мм с ферритовым сердечником. Отвод — от 17 витка. |
| L3 | 10-20 | 4,3 | 0,4 | 30 | Виток к витку. Рядовая. Диаметр каркаса 8 мм с ферритовым сердечником. Отвод — от 10 витка. |
| L4 | 20-50 | 1,2 | 0,6 | 15 | Виток к витку. Рядовая. Диаметр каркаса 8 мм с ферритовым сердечником. Отвод — от 50 витка. |
| L5 | 50-90 | 0,18 | 0,8 | 6 | Шаг 1,3 мм.
|
| L6 | 90-160 | 0,055 | 1,0 | 2 | Шаг 2,5 мм. Рядовая. Диаметр каркаса 8 мм без ферритового сердечника. Отвод — от 1 витка. |
Конденсатор СЗ предназначен для грубой настройки , С4 — для точной. Калибровать автогенератор удобнее с помощью цифрового частотомера. Значения частоты в Мгц-ах наносятся на шкале С3 для каждого поддиапазона.
2. Усилитель ВЧ, выполненного на транзисторах VT2 и VT3 КТ361.
3. Модулятор — построенный на базе RC генератора на VT4 КТ315 с частотой колебаний в районе 1 кГц. С помощью выключателя SB2 он может быть при желании отключен.
Питание генератора ВЧ — стабилизированное 12 В.
Как уменьшить шум без настройки
Если вы предпочитаете избегать каких-либо изменений в самом генераторе, есть еще способы заглушить звук.
- Установка как можно дальше
Это так просто. Чем дальше, тем меньше вероятность, что вы услышите его, поэтому по возможности используйте более длинные удлинители.
- Создайте звуконепроницаемую коробку
Сборка коробки для генератора не только предотвращает распространение звука, но и может служить пространством для хранения генератора на улице.
Помните, что для работающих на топливе генераторов требуется достаточная вентиляция, чтобы предотвратить накопление опасных уровней угарного газа . Огнезащитный изоляционный материал является хорошим материалом для этого.
- Установите звуковые дефлекторы
Звуковые дефлекторы — это твердые материалы, которые отражают звуковые волны в другом направлении. В некоторых случаях они используются для создания более прямой линии к вам, но в этом случае вы, очевидно, хотите настроить дефлекторы, чтобы они удалялись от вас и от вашего дома.

- Установите генератор на резине
Часть шума просто исходит от вибраций, поэтому, если генератор меньше дрожит, это также может снизить шум. Простого резинового коврика под генератором уже достаточно, чтобы уменьшить вибрацию или приобрести специальный антивибрационный коврик.
В качестве альтернативы, купите резиновые ножки
Лучший вариант — применять несколько методов шумоподавления одновременно. Генератор никогда не будет полностью молчать, но эти уловки могут снизить некомфортный уровень шума.
Измерение напряжений при системе IT на электрогенераторе
Для начала используем для электрогенератора систему заземления с изолированной нейтралью — IT. Т.е. заземляем только сам генератор, а выводы — нет. Заводим генератор, прогреваем. Значение напряжения тока между выводами генератора при системе IT — 223В:
Дальше у нас по плану определить наличие напряжения на каждом выводе по отдельности.
Значение напряжения переменного тока между первым выводом электрогенератора и контуром заземления при системе IT на генераторе — 69В: Значение напряжения переменного тока между вторым выводом электрогенератора и контуром заземления при системе IT на генераторе — 36В:
Проверим потенциал каждого из выводов электрогенератора относительно нулевого проводника электросети “от столба”.
Схема генератора шума
Схема питается от стабилизированного источника питания 15 В.
Микросхема D1 — операционный усилитель с высоким входным сопротивлением, например 544 УД1.
Резисторы R1, R2 — по 150 кОм
Резисторы VD1 — стабилитрон 3.7 В, 0.5 Вт.
Конденсатор С1 — 1000 мкФ. 15 В. Если мы хотим ограничить частоту шума снизу, то емкость этого конденсатора можно уменьшить. Уменьшать можно вплоть до 1 мкФ и меньше, чтобы получить только высокочастотный шум.
Резистор R3 — 1 кОм. Резистор R4 — 1 МОм. Эти резисторы задают коэффициент усиления схемы в рабочем диапазоне частот. При указанных номиналах получится около 1000. Разные стабилитроны шумят с разной интенсивностью. Подбором резистора R4 можно получить нужный уровень выходного сигнала для выбранного стабилитрона.
Резистор R5 — 10 кОм. Резистор С2 — 0.1 мкФ. Эта цепочка исключает возможность самовозбуждения усилителя. Если усилитель возбуждается, нужно увеличивать емкость конденсатора, уменьшаем споротивление резистора. Сопротивление резистора можно уменьшать до нуля. Также эта цепочка задает ослабление спектрального состава шума на высоких частотах. Чтобы получить более розовый (низкочастотный) шум, нужно снижать сопротивление R5 и увеличивать C2, для более фиолетового (высокочастотного) — наоборот.
С выхода генератора сигнал можно подать, например, на Высококачественный усилитель мощности звуковой частоты
(читать дальше…) :: (в начало статьи)
| 1 | 2 |
:: ПоискТехника безопасности :: Помощь
К сожалению в статьях периодически встречаются ошибки, они исправляются, статьи дополняются, развиваются, готовятся новые. Подпишитесь, на новости, чтобы быть в курсе.
Если что-то непонятно, обязательно спросите!Задать вопрос. Обсуждение статьи. сообщений.
Добрый день, скажите, пожалуйста, можно ли использовать данный генератор в качестве генератора виброакустического шума? Т.е. можно ли к выходу усилителя подключить пьезоэлектрические вибродатчики? Достаточно ли будет мощности? Читать ответ…
Вопрос автору. Здравствуйте! Правильно ли я понял, что на операционном усилителе, например, на указанном 544 уд1, используются 3 ножки (из 8)- питание(+,-) и выход?
Паяли ли схему сами? Если да, то можно ли просто вывести на наушники, без подключения к доп.усилителю?
и еще, что скажете насчет вот такой схемы:
Благодарю. Читать ответ…
Еще статьи
Практика проектирования электронных схем. Самоучитель электроники….
Искусство разработки устройств. Элементная база радиоэлектроники. Типовые схемы….
Генератор синуса, синусоидальных колебаний, сигнала, напряжения. Схема…
Схема генератора синусоидального сигнала….
Импульсный источник питания. Своими руками. Самодельный. Сделать. Лабо…
Схема импульсного блока питания. Расчет на разные напряжения и токи….
Блокинг генератор. Схема, устройство….
Схема и устройство блокинг генератора…
Преобразователь однофазного напряжения в трехфазное. Принцип действия,…
Принцип действия, сборка и наладка преобразователя однофазного напряжения в трех…
Составной транзистор. Схемы Дарлингтона, Шиклаи. Расчет, применение…
Составной транзистор — схемы, применение, расчет параметров. Схемы Дарлингтона, …
Повышающие переменное, постоянное напряжение бестрансформаторные преоб…
Повышение напряжения без трансформатора. Умножители. Рассчитать онлайн. Преобраз…
Понижающий импульсный источник питания. Применение трансформатора тока…
Как проектировать понижающий импульсный преобразователь напряжения. Шаг 3. Как п…
Что нужно для простого экранирования
Даже неискушенный в вопросах радиоэлектроники радиолюбитель легко поймет, о чем идет речь, и достанет все нижеприведенные материалы, в число которых входят:
- металлические, в том числе и фольга;
- для металлизации поверхностей;
- ткани;
- стекла с покрытием, проводящим ток;
- радиопоглощающие;
- клей, проводящий электричество.
С помощью этих средств получают замкнутый экран, который заземляется.
Кроме применения в доме, экранирование используют и в автомобилях. Чтобы устройство здесь работало эффективно, нужно учитывать окна. Поэтому экранирование должно рассчитываться эквивалентно экрану из стекла. Для этого может применяться вкрапление сетки из металла в стекло или использоваться специальные стекла с покрытием, проводящим ток. Для того чтобы нанести это покрытие, используют специальные устройства магнетронного напыления.
Принципиальная схема
Максимальный выходной уровень (положение 1/1 S2) синусоидального напряжения (RMS) 3,1 V. Соответственно в других положениях S2 максимальный выходной сигнал (RMS) составляет 310mV и 31mV. Питается генератор от электросети через встроенный источник питания на маломощном силовом трансформаторе.
Схема генератора представляет собой УНЧ с двухтактным выходным каскадом, охваченный положительной обратной связью RC-схемой моста Винна. Частота определяется переменными резисторами R2 1 и R2.2, являющимися составляющими частями сдвоенного переменного резистора, используемого как орган плавной настройки частоты в пределах выбранного диапазона. И конденсаторов, переключаемых сдвоенным переключателем S1.1-S1.2.

Рис. 1. Принципиальная схема лабораторного генератора сигнала низкой частоты 15 Гц — 160 КГц.
При монтаже переменные резисторы нужно паять так, чтобы при вращении рукоятки их сопротивления менялись одинаково (при неправильном включении при вращении рукоятки сопротивление одного переменного резистора будет уменьшаться в то время как сопротивление другого будет расти).
Чем ближе характеристики регулировки резисторов, составляющих блок переменных резисторов, тем меньшие искажения сигнала будут на выходе. Это же касается и конденсаторов, образующих мост Винна, — их емкости одновременно работающие в одном диапазоне должны быть максимально одинаковы (С1=С5, С2=С6, C3=С7, С4=С8 с увеличением неравенства этих емкостей возрастают искажения).
Коэффициент нелинейных искажений не более 0,3% во всем диапазоне частот (при условии тщательной настройки генератора, и малом разносе емкостей и резисторов плеч моста Винна).
При наличии только моста Винна схема усилителя (генератора) будет выходить на режим ограничения сигнала То есть, в данном случае, это перегрузка, которая обрежет вершины синусоид и сигнал будет более похож на прямоугольный, чем на синусоидальный.
Поэтому необходима так же и система отрицательной обратной связи, которая будет снижать коэффициент передачи усилителя так чтобы размах выходного сигнала не вылезал в зоны ограничения и нелинейности.
К тому же, должна быть автоматическая регулировка глубины ООС, придерживающая коэффициент передачи на оптимальной величине, которая здесь образована резисторами R7, R6, R5, а так же конденсатором С9. Элементом, регулирующим глубину ООС является лампа накаливания Н1.
Как известно, сопротивление лампы накаливания сильно зависит от тока через неё, так как ток вызывает нагрев нити из высокоомного сплава металла Чем больше ток, тем больше нагрев и тем больше сопротивление лампочки. Здесь лампа включена в цепи ООС, при увеличении сопротивления в этой цепи глубина ООС увеличивается и коэффициент передачи усилителя снижается.
Через лампу протекает выходной переменный ток, поэтому от его величины зависит и нагрев лампы. Таким образом происходит стабилизация выходного уровня сигнала в пределах линейного участка характеристики усилителя НЧ.
Усилитель, составляющий основу ГНЧ построен на транзисторах по трехкаскадной схеме с мостовым выходным каскадом и непосредственными связями между каскадами.
Для устранения «ступеньки» напряжение смещения на базах VT3 и VТ4 различаются на величину, заданную цепью из трех диодов VD1-VD3. Плавная регулировка выходного сигнала осуществляется переменным резистором R11, ступенчатая, — переключателем S2, переключающим резисторы делителя R12-R14.
Источник питания вырабатывает двухполярное постоянное напряжение около + 11V. В источнике питания используется маломощный силовой трансформатор Т1 с одной вторичной обмоткой на напряжение 9V. Для того чтобы от такого трансформатора получить двухполярное напряжение здесь используется два одно-полупериодных выпрямителя на диодах VD4 и VD5.
В результате для формирования положительного постоянного напряжения используется положительная полуволна переменного тока, а для формирования отрицательного постоянного напряжения используется отрицательная полуволна переменного тока.
Ламповый ВЧ генератор
Чтобы получить плазму с определенными параметрами, необходимо подвести необходимую величину к разряду мощности. Для эмиттеров на плазме, работа которых основана на разряде высокой частоты, применяется схема подведения мощности. Схема изображена на рисунке.
Усилитель мощности на лампах преобразовывает энергию электрического постоянного тока в переменный ток. Главным элементом работы генератора стала электронная лампа. В нашей схеме это тетроды ГУ-92А. Это устройство представляет собой электронную лампу на четырех электродах: анод, экранирующая сетка, управляющая сетка, катод.
Сетка управления, на которую поступает сигнал высокой частоты малой амплитуды, закрывает часть электронов, когда сигнал характеризуется отрицательной амплитудой, и повышает ток на аноде, при положительном сигнале. Экранирующая сетка создает фокус электронного потока, увеличивает усиление лампы, снижает емкость прохода между сеткой управления и анодом в сравнении с 3-электродной системой в сотни раз. Это уменьшает выходные искажения частот на лампе при действии на высоких частотах.
Генератор состоит из цепей:
- накала с питанием низкого напряжения.
- возбуждения и питания сетки управления.
- питания сетки экрана.
- Анодная цепь.
Между антенной и выходом генератора находится ВЧ трансформатор. Он предназначен для отдачи мощности на эмиттер от генератора. Нагрузка контура антенны не равна величине отбираемой наибольшей мощности от генератора. Эффективность передачи мощности от каскада выхода усилителя к антенне может быть достигнута при согласовании. Элементом согласования выступает емкостный делитель в цепи контура анода.
Элементом согласования может работать трансформатор. Его наличие необходимо в разных согласующих схемах, потому что без трансформатора не осуществится высоковольтная развязка.
Пишите комментарии, дополнения к статье, может я что-то пропустил. Загляните на карту сайта, буду рад если вы найдете на моем сайте еще что-нибудь полезное.
Способы использования шума
«случайное блуждание»этуЗдесьпороговуюгенераторе полигональных карт
- Структура графа проще всего, когда используется сетка квадратов или шестиугольников (на самом деле я начал с сетки шестиугольников). Каждый элемент сетки — это полигон. Я хотел добавить в сетку случайности. Это можно сделать, перемещая точки случайным образом. Но мне нужно было что-то более случайное. Я использовал генератор синего шума для размещения полигонов и диаграмму Вороного для из реконструирования. На это ушло бы намного больше времени, но, к счастью, у меня была библиотека (), которая всё сделала за меня. Но я начал с сетки, что намного проще, и именно с неё я и рекомендую начинать вам.
- Береговая линия — это способ отделить сушу от воды. Я использовал два разных способа для её генерирования с помощью этого шума, но можно также попросить дизайнера нарисовать форму самому, и я продемонстрировал это с помощью квадратных и округлых форм. Радиальная форма береговой линии — это функция шума, использующая синусы и косинусы, отрисовывающая их в полярной форме. Форма береговой линии Перлина — это генератор шума, использующий шум Перлина и радиальный возврат в качестве порога. Здесь можно использовать любое количество функций шума.
- Истоки рек располагаются случайным образом.
- Границы между полигонами сменяются с прямых линий на зашумлённые линии. Это похоже на midpoint displacement, но я отмасштабировал их, чтобы они умещались в границы полигонов. Это чисто графический эффект, поэтому код находится в GUI () вместо базового алгоритма ().
гораздо больше
Низкое напряжение, а силовые цепи исправные.
Если выходные силовые цепи исправные, а бензиновый генератор по прежнему выдает пониженное напряжение, следует перейти к следующему шагу – диагностике регулятора напряжения генератора AVR. Начинать диагностику следует опять таки же с визуального осмотра блока регулятора напряжения. Если на блоке AVR явно видны следы прогара или же на отчетливо заметно вздутие конденсатора – с большой долей вероятности причина в отсутствии или заниженном напряжении генератора скрывается именно здесь.
Что необходимо сделать: заменить блок регулятора напряжения на новый или исправный. Если у Вас нет возможности приобрести или взять хотя бы на время заведомо исправный регулятор напряжения, можете прочитать, как самостоятельно отремонтировать AVR с помощью подручных средств.
Как работает прибор?
Далеко не все средства, эффективно показывающие себя в помещении, подходят для автомобилей. Примером могут служить микрофоны, снабженные приспособлениями для передачи данных в ИК-диапазоне. Для них потребуется тончайшая настройка, которую в полевых условиях выполнить крайне сложно. Кроме того, должны отсутствовать помехи в направлении луча, что на улице реализовать почти невозможно.
По аналогичным причинам не подойдут и лазерные микрофоны. Остаются стетоскопы, диктофоны и навязывание на высоких частотах, реализуемые по радиоканалу.
Самый популярный генератор шума образует белые или розовые шумы. Чтобы разобрать речь, диапазон разбивают на полосы с одинаковым коэффициентом. Если используемая система — непрофессиональная, то имеется семь полос октав. Если разборчивость составляет от тридцати до восьмидесяти процентов, то погрешность будет до двух процентов для помехи речеподобной, до пяти процентов для розового и белого шумов, а также порядка пятнадцати процентов для спадающего шума, имеющего плотность шесть децибел на высокочастотную сторону октавы.
Эффективность защиты информации, передаваемой в речи, зависит от поставленных целей. Например, необходимо скрыть смысл или тему разговора.
Схема, технические характеристики, работа генератора ГУК-1.
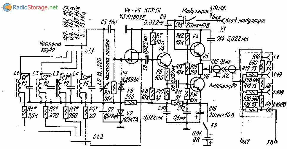
Недавно мне принесли в ремонт генератор ГУК-1. Что бы потом не думалось, сразу заменил все электролиты. О чудо! Все заработало. Генератор еще советских времен, а отношение у коммунистов к радиолюбителям было такое Х… , что вспоминать не охота. Вот отсюда и генератор желал бы быть получше. Конечно самое главное неудобство, это установка частоты высокочастотного генератора. Хоть бы, какой ни будь простенький верньер поставили, поэтому пришлось добавить дополнительный подстроечный конденсатор с воздушным диэлектриком (Фото1). По правде сказать я очень не удачно выбрал для его место, надо было бы чуть-чуть сместить. Я думаю вы это учтете.
Что бы поставить ручку, пришлось удлинить ось триммера, кусок медной проволоки диаметром 3мм. Конденсатор подключается параллельно основному КПЕ или непосредственно, или через «растягивающий» конденсатор, что еще больше увеличивает плавность настройки генератора ВЧ. Для кучи заменил и выходные разъемы – родные уже все раздрыгались. На этом ремонт закончился. От куда схема генератора я не узнал, но похоже, что все соответствует. Возможно она пригодится и вам. Схема генератора универсального комбинированного – ГУК-1 приведена на рисунке 1. В состав прибора входят два генератора, низкочастотный генератор и генератор ВЧ.
ТЕХНИЧЕСКИЕ ДАННЫЕ
1. Диапазон частот ВЧ генератора от 150 кГц до 28 мГц перекрывается пятью поддиапазонами со следующими частотами: • 1 поддиапазон 150 — 340 кГц • II 340 — 800 кГц • III 800 — 1800 кГц • IV 4,0 — 10,2 мГц • V 10,2 — 28,0 мГц
2. Погрешность установки ВЧ не более ±5%. 3. Генератор ВЧ обеспечивает плавную регулировку выходного напряжения от 0,05 мВ до 0,1 В. 4. Генератор обеспечивает следующие виды работ: а) непрерывная генерация; б) внутренняя амплитудная модуляция синусоидальным напряжением с частотой 1кГц. 5. Глубина модуляции не менее 30%. 6. Выходное сопротивление ВЧ генератора не более 200 Ом. 7. НЧ генератор генерирует 5 фиксированных частот: 100 Гц, 500 Гц, 1кГц, 5кГц, 15кГц. 8. Допустимое отклонение частоты НЧ генератора не более ±10%. 9. Выходное сопротивление НЧ генератора не более 600 Ом. 10. Выходное напряжение НЧ плавно регулируется от 0 до 0.5 В. 11. Время самопрогрева прибора — 10 минут. 12. Питание прибора осуществляется от батареи «Крона» напряжением 9 В.
Белые генераторы шума: схема
Эффективными себя показали акустически-вибрационные средства зашумления. При этом они недорого стоят и легко устанавливаются. Генератор шума работает в акустическом частотном диапазоне, гарантируя снижение разборчивости после записи. Наиболее простым методом белого шума является применение шумящих электронных деталей, которые способствуют усилению напряжения.
Принцип действия приборов заключается в излучении ультразвуковых колебаний, которые не слышатся ухом человека. Дело в том, что люди воспринимают звуки в линейном диапазоне, а микрофон на диктофоне не является линейной деталью. Поэтому на входе устройства возникает интерференция, приводящая к подавлению записи. Так как уровень колебаний ультразвука составляет от восьмидесяти до ста децибел, то он может без вреда для здоровья использоваться и в помещениях, и в транспорте.
Генератор шума «Гном» — одно из устройств, борющихся с побочными электромагнитными излучениями. Выпускалось несколько моделей прибора. Сначала они были громоздкими, а затем уменьшались в размере, оставаясь такими же эффективными. Разработка «Гном 5» является примером компактного и удобного устройства, находящегося под рукой. Принцип действия прибора реализуется в работе с персональным компьютером, защищая его от утечки информации. Размещается устройство в системном блоке.
Наряду со шпионской техникой существуют и специальные устройства для защиты информации. Но никто, кроме нас самих, не будет использовать их. Только в наших руках находится информационная защита. А реализовывать ее или нет — личное решение каждого.
Источник
Однофазный генератор
На фоне этого декоративная функция штукатурок отходит на второй план. Скрыть объявление.
Тема в разделе » Отопление, газоснабжение, отопительное оборудование «, создана пользователем Сергей , Войти или зарегистрироваться. Строительный форум ВашДом.
Чтобы задать вопрос, получить консультацию или поделиться опытом войдите на форум. Консультанты форума: 1 Инженерные Инновации Создание инженерных систем для частных домов. Расчет, проект и монтаж индивидуальных котельных, систем отопления водоснабжения и канализации Новая напасть — купил бензиновый генератор , на Ватт ,для аварийного электроснабжения.
Обозначим тему
Можно и нужно ли заземлять один из выводов электрогенератора? В интернете можно встретить как минимум два противоположных ответа на данный вопрос. Почему вообще возник данный спор? Смысл прост. На обоих выводах однофазного электрогенератора есть потенциал, т.е. указатель напряжения покажет напряжение на каждом из них. Ну и что тут такого? А вот что. Если мы используем электрогенератор для работы электроинструмента на какой-нибудь стройке, то все нормально. Но если генератор используется как резервный (например, в связке со щитом АВР) или основной источник тока для частного жилого дома, то возникают вопросы:
- Насколько правильно и безопасно пускать по нулевому проводу напряжение от электрогенератора во внутридомовую сеть?
- А можно ли пускать сие напряжение во внешнюю сеть по нулевому проводу?
- Как на это отреагируют бытовые приборы? Выживут ли, и как долго?
- Избавит ли заземленная нейтрайль генератора от указанных проблем?
https://youtube.com/watch?v=PTP4G8f0tkQ
https://youtube.com/watch?v=8iW7e_gRGAo
Устройство заземляющего контура в частном доме
В самом общем виде, заземление в частном доме сделанное своими руками, состоит из четырех основных элементов:
- Заземляющие штыри, вбитые в грунт на определенную глубину. Они предназначены для создания непосредственного контакта системы с землей.
- Контур заземления. Представляет собой конструкцию из стальных прутьев или полос, соединяющей все штыри в единую систему.
- Заземляющий электрический проводник, который представляет собой стальную полоску, соединяющую контур с электрощитом.
- Система проводки. Представляет собой специальный заземляющий провод, который подводится к потребителям.
Сам по себе контур выполняют в виде треугольника с равными сторонами.
Автоматические синхронизаторы
Поскольку процесс синхронизации трудно контролировать вручную, он проводится в автоматическом режиме. Для этого на электростанциях устанавливаются приборы, называемые автосинхронизаторами.
Регулирование оборотов генератора в ручном режиме выполняется ключами, подающими импульс на регулирующее устройство. На тепловых электростанциях – это электродвигатель паровой задвижки на входе турбины. Кратковременно поворачивая ключ в положения «Больше» или «Меньше», оперативный персонал открывает или закрывает задвижку. Так обеспечивается регулировка оборотов турбины. Эту же операцию выполняет и автосинхронизатор, работающий в автоматическом режиме.
Как и к синхроноскопу, к нему подключены напряжения с выхода генератора и из сети. Он постоянно контролирует их величины и выдает импульс на включение только в момент выполнения условий, перечисленных в начале этой статьи. Но с одним отличием: команда на включение генератора в сеть выдается заблаговременно, с заданной при настройке синхронизатора задержкой.
Для чего она нужна? Дело в том, что выключатель, включающий генератор в сеть, характеризуется собственным временем включения. Оно небольшое (десятые доли секунды), но этого достаточно, чтобы за время срабатывания стрелка синхроноскопа успела уйти с нулевого положения. Поэтому в настройки синхронизатора и добавляется задержка по времени, называемая временем опережения. Для каждого типа выключателя (масляного, вакуумного, элегазового) она имеет разное значение.
Шкафы с синхронизаторами
Автосинхронизатор не включает генератор в сеть при частоте скольжения, равной нулю. Процесс регулировки оборотов турбины настолько не стабилен, что частота вращения в любой момент может измениться. Поэтому включение происходит при небольшой частоте скольжения, отличной от нуля.
Источник шума
В качестве источника шума можно использовать специальную радиодеталь. Но она на поверку представляют собой диод, включенный в обратной полярности с относительно большим обратным током. Это — обычный стабилитрон, только с нормированной характеристикой спектра шума. Так как мне не нужно особенно точно выдерживать спектральный состав шумового сигнала, то я использую обычный стабилитрон, но в нестандартном режиме. У стабилитрона есть минимальный ток стабилизации. Если ток через стабилитрон выше, чем это значение, то стабилитрон начинает стабилизировать напряжение. В этом режиме его шумы относительно невелики. Но если ток через стабилитрон равен около 2% от тока стабилизации, то стабилитрон превращается в отличный источник шумового сигнала.




























































Набор копипасты сваленой в одну кучу
Да вообще помойка какая то.